苹果正在研究未来的Apple Pencil如何通过拥有可改变笔尖功能的可互换笔尖为用户提供更多种类的功能。
Apple Pencil是设计精巧的绘图设备。它的核心功能是允许用户在iPad显示器上绘画,但其底层技术很复杂,可以通过按下笔尖来实现压力敏感性。
作为设计的一部分,如果需要,可以将Apple Pencil的笔尖更换为其他笔尖。这主要集中在笔尖磨损而需要更换的情况下,而不是因为需要改变其机械性能。
现有的笔尖机制还基于这样的想法,即笔尖将不会改变功能,它将始终用于检测压力随时间的变化。
在周二美国专利商标局授予苹果的一项名为“具有可更换模块的多用途触控笔”的专利中,苹果公司提出,要进行的改动可能比维护更多。相反,苹果公司建议该笔尖可以允许功能更改。
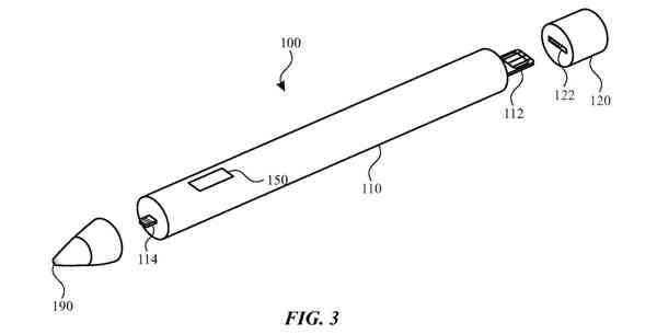
在设计方面,Apple建议Apple Pencil笔尖部分可以与配件的笔筒分开。一个小的连接器使另一个笔尖部分可以连接并与身体的其余部分通信。


可以预想,Apple Pencil的笔尖可以通过末端的小连接器安装。
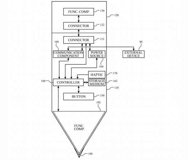
笔尖将包含功能所需的所有机制,电子设备和处理,而连接器会将数据传输到身体。该主体将包括控制器,电源,存储介质,触觉,按钮以及与主机设备的通信方法。
随着笔尖的变化,将呈现给身体成分的数据也将发生变化。但是,人体的支持功能将在笔尖之间持续存在,因为一般Apple Pencil都需要它们。
这种变化的数据可能不仅仅是压力,而且可能涵盖许多不同类型的数据。苹果公司建议这可以更改标记的“颜色,形状,厚度,大小,亮度或不透明度”设置。
通过更改笔尖和数据,可以使笔尖数据在绘图应用程序中提供不同的效果。例如,它可以提供足够的不透明度,厚度和形状数据来模拟画笔笔触,而颜色可以用于跟踪项目或从打印的色板复制颜色。
该文件表明,笔尖可能包含多个不同用途的传感器。组件列表包括触觉传感器,接触传感器,电容和触摸传感器,相机,压电传感器,压力传感器或光电二极管。
该组件可能包含其他功能,包括方向检测器,陀螺仪,加速度计,生物识别技术,显示器,开关和按钮,教程针以及音圈和扬声器。

![]()
笔尖将处理该功能,将数据传递到Apple Pencil的机身上。
该专利于2017年8月7日提交,其发明人为李秋明,尼古拉斯·麦克唐纳,迈克尔·纽曼,成晓宇,斯瓦普尼尔·Ja那,哈迪克·乔希,内拉吉·古普塔和莫希特·纳朗。
苹果每周都会提交许多专利申请。尽管专利的存在表明了苹果研究与开发工作的关注领域,但不能保证它会出现在未来的产品或服务中。
这与苹果公司第一次通过改变笔尖处理方式考虑使用Apple Pencil的替代功能有关。它也不是唯一有关交换笔尖的专利。
2016年,“智能触控笔”的专利提出了具有不同功能的可互换笔尖的想法。该专利包括使用手写笔体内其他传感器读取的唯一识别码,而最新的文件显示数据传输将决定功能。
过去也曾提出将笔尖用于其他功能,包括从2020年7月开始使用该笔尖,该笔尖可用于使用光电探测器检测和采样物体上的颜色。笔尖适配器也已在另一份文件中提出,通过对笔尖施加负压,在现有的Apple Pencil设计中增加了一个力感测按钮。