使折叠式智能手机成为外形尺寸的未来有很大的动力,但是仍然存在许多工程问题需要解决,可以说折叠式智能手机与普通设备一样可靠。
华为在一项最新发布的专利中权衡了其解决方案,即由于铰链很大,折叠式智能手机无法平放在桌子上。
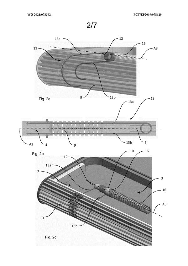
他们的解决方案是在铰链组件中堆叠一堆“刀片”,这在某种程度上类似于《 Surface Book》的外观(下图)。


他们写:
铰链组件包括一排相互连接且邻接的铰链叶片和至少一个线性致动器,当铰链组件处于展开位置时,铰链叶片在同一平面上对齐,每个铰链叶片绕铰链相对于相邻的铰链叶片旋转当铰链组件移动到折叠的端部位置时,组件致动轴线,线性致动器包括旋转轴和线性驱动装置,线性驱动装置的第一端与旋转轴互连,线性致动器的第二相对端线性驱动装置连接到至少一个铰链叶片,致动器轴线在第一和第二端之间延伸并且垂直于铰链组件旋转轴线,其中,线性致动器沿着致动器轴线的致动促使每个铰链刀片绕着铰链组件旋转轴线相对相邻的铰链刀片旋转,该线性致动器还包括用于将铰链组件锁定在展开位置和锁定组件中的至少一个的锁定装置。在折叠的末端位置,锁定装置包括与位于旋转轴上的凸轮部分互锁的凸轮元件。

![]()

![]()

![]()

华为指出,该组件的优势在于,铰链可以轻松轻松地枢转,同时仍可牢固地锁定在所需位置之一即展开位置或折叠端部位置的位置。此外,通过仅具有一个锁定装置,不会堆叠各个制造公差,从而在展开位置提供更好的平坦度,同时避免为了提供足够的锁定力而必须在多个枢轴点之间同步运动。