微软可能希望在其下一代 Surface Book 中复制 Apple Magic Keyboard 的惊人设计,这是WindowsUnited发现的一项新专利。
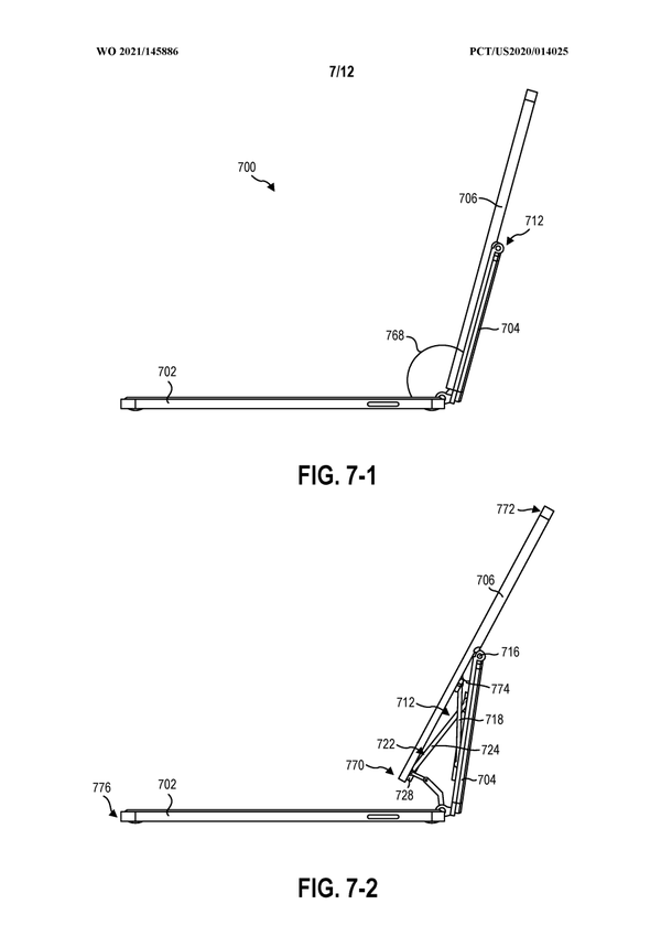
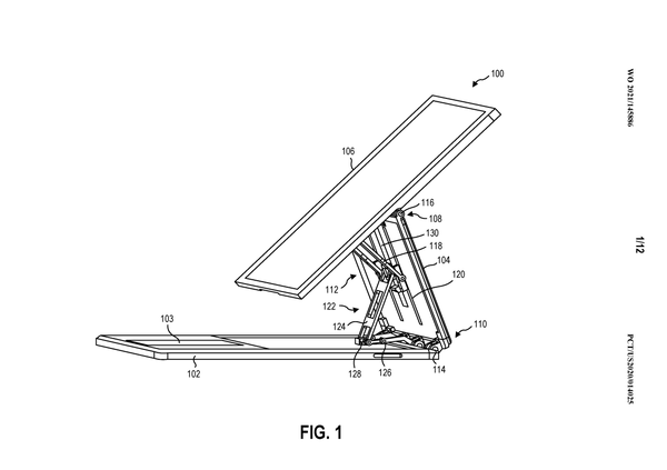
该专利于 2020 年 1 月 17 日申请并于 2021 年 7 月 22 日公布,展示了一款笔记本电脑,可以从普通的翻盖外观转换为像妙控键盘一样的浮动屏幕。


这当然与 Apple Magic Keyboard + iPad 组合非常相似。

![]()
因为根据他们的消息来源,微软正在开发一款新的 Surface Book,其“不可拆卸显示器”约为 14 英寸。该设备将配备更强大的处理器和显卡,改进的屏幕,并可能配备更大的触控板和更新的 Surface Pen,改进触觉反馈。
该设备可能会以 Surface Book Pro 或 Surface Book Studio 的形式销售,当然也可以开箱即用地运行 Windows 11。它应该会在今年秋天的某个时候上架。
请参阅展示以下设计的专利中的插图

![]()

![]()

![]()

![]()

![]()

![]()

![]()

![]()

![]()

![]()

![]()