微软可能希望为他们的下一款 Surface Book 复制 Apple Magic Keyboard 的惊人设计,该专利于 2020 年 1 月 17 日申请并于 2021 年 7 月 22 日公布,展示了一款笔记本电脑,可以从普通的翻盖外观转换为像妙控键盘一样的浮动屏幕。


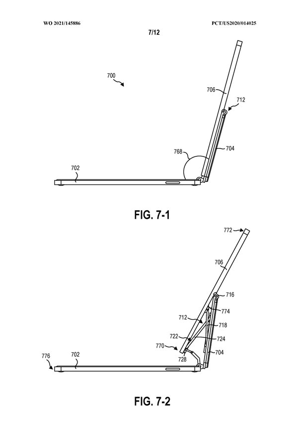
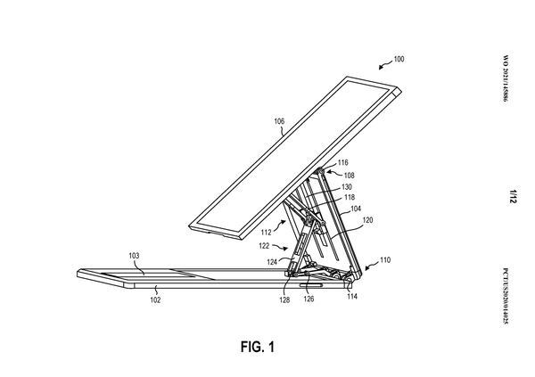
该专利主要针对屏幕下方的铰链设计,旨在保持屏幕稳定,大概可以在不调整角度的情况下触摸。
计算设备的铰链包括将显示器连接到支架的主支撑件。当显示器围绕支架旋转时,主支撑件沿摩擦条滑动,从而使显示器相对于支架保持稳定。稳定器可以将支架连接到底座或将支架连接到显示器。
有趣的是,该专利附带的图像都没有显示屏幕平放,而且铰链似乎不支持类似画架的模式。
画廊

![]()

![]()

![]()

![]()

![]()

![]()

![]()

![]()

![]()

![]()

![]()
下载最新版Windows 11 Pro ISO文件:点击进入 持续更新原装纯净版Win11