英特尔正在推动折叠屏笔记本电脑为笔记本电脑市场带来一些兴奋,而三星的一项新专利可能刚刚让我们看到了他们的进入者。2021 年 7 月 2 日,世界知识产权组织 (WIPO) 的“多折叠电子设备”专利刚刚公布,它与其他折叠屏笔记本电脑略有不同。


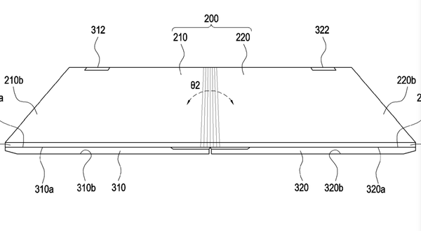
在该专利中,三星使用柔性屏幕让笔记本电脑可以折叠成一个紧凑的块状,从而更容易收起。
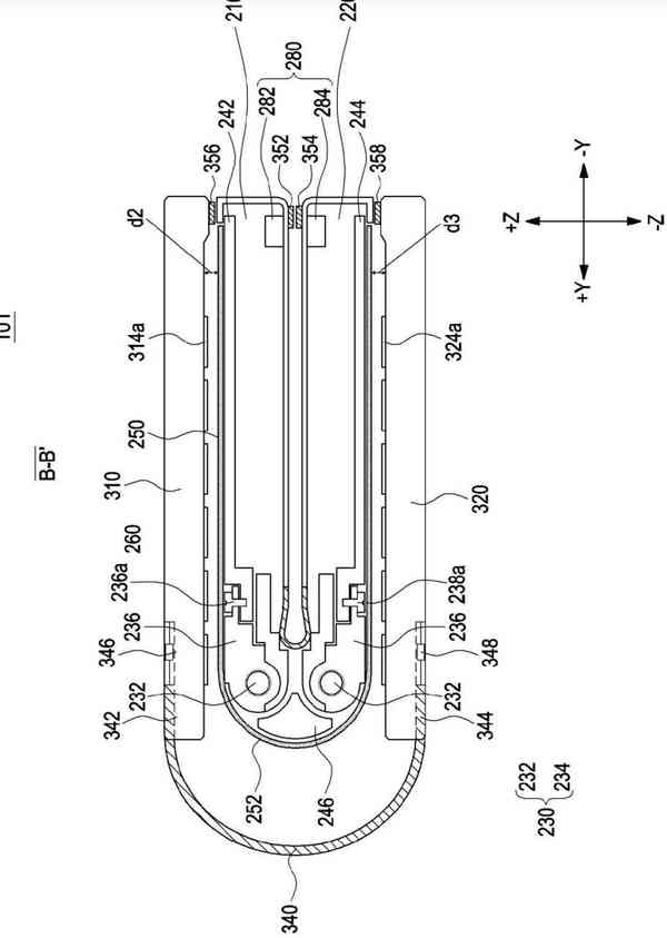
该专利显示屏幕折叠,而键盘分成两部分,两边都有自己的电池。

![]()
该设计具有一个闩锁,可在打开时使分体式键盘保持刚性,并在折叠时使其保持关闭状态。

![]()

![]()

该专利并不意味着该设备一定会上市,我不确定折叠成一个小而厚的正方形的笔记本电脑有什么需求。