Humane 由 Apple 软件总监 Bethany Bongiorno 和设计负责人 Imran Chaudhri 创立。后者在 Apple 工作了二十多年(1995-2016)并在人机界面团队工作,而前者从 2008 年开始负责 iOS 和 macOS 软件工程,直到她同样在 2016 年离开。
这家初创公司对其工作非常保密,但就“构建让人感觉熟悉、自然和人性化的创新技术”及其“重新构想计算的使命”发表了各种大胆的声明。其中一个关键部分是制造“让我们与自己、彼此以及我们周围的世界重新联系的产品。”
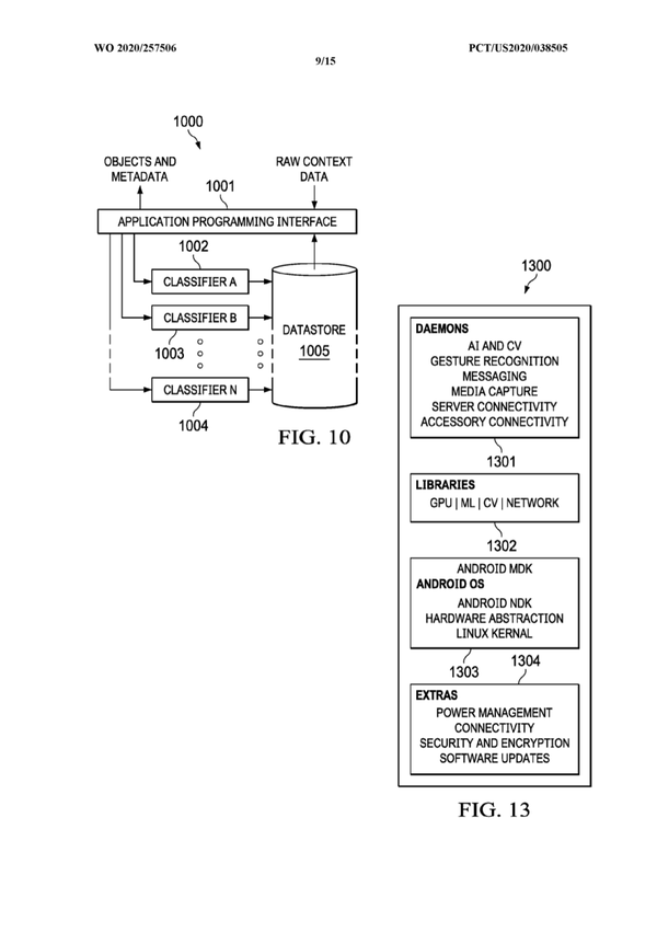
根据2020 年发布的一项专利(“具有激光投影系统的可穿戴多媒体设备和云计算平台”),所有这些营销文案都可能转化为一种随身设备——最重要的是——“不包括显示器,允许用户继续与朋友、家人和同事互动,而不会沉浸在展示中。” 事实上,“最小化用户交互”才是目标。
相反,“激光投影系统”将任何表面变成显示器,当不再需要它时就会消失。根据专利图纸,这包括将时间/日期、数字键盘、转弯方向和温度/恒温器控件投影到您的手掌上。其他示例显示信息叠加 – 以真正的增强现实方式 – 当您在做饭或在您的汽车引擎上工作时。
激光投影可以标记对象,提供与对象相关的文本或说明,并提供允许用户编写消息、控制其他设备或简单地共享和共享的临时用户界面(例如,键盘、数字键盘、设备控制器)。与他人讨论内容。






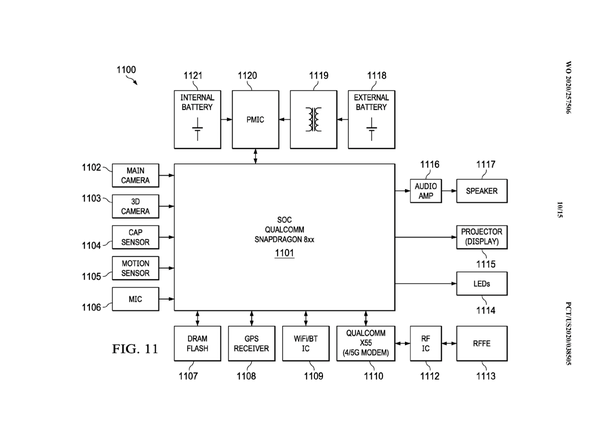
除了激光投影,这款“随身设备”还配备了摄像头(“180° FOV with OIS”作为示例规格)、3D 摄像头和深度传感器(LiDAR 或飞行时间),用于识别“手势”,并识别现实世界中的物体,如谷歌镜头。
在一个实施例中,云计算平台可以由结合语音查询的基于上下文的手势(例如,空中手势)驱动,例如用户指向他们环境中的对象并说:“那是什么建筑物?” 云计算平台利用空中手势缩小摄像头视口范围,隔离建筑物。
通过轻按“可穿戴多媒体设备”,相机还可以充当普通的录音设备。
在规格方面,人性化的“穿戴式多媒体设备”,将通过公开岗位(证明在Android上运行的1,2,3),包括系统软件工程师,Android框架:
你可能会做什么
基本资格
首选技能
因此,Humane 不必创建一个全新的操作系统,Meta 只是停止了工作以支持继续使用 Android。与此同时,谷歌刚刚组建了一个团队来创建“增强现实操作系统”。
Humane 打算构建第三方应用生态系统:
一些示例应用可以包括但不限于:个人直播(例如,Instagram™ Life、Snapchat™)、高级监控(例如,确保亲人已服药)、记忆回忆(例如,展示上周孩子的足球比赛)和个人教程(例如,支持 AI 的个人教程,它知道用户的位置并指导用户执行操作)。






最后,在所有开放的硬件职位中,Humane 没有招聘任何传统 AR 智能眼镜的显示工程师。
在电源方面,相机、深度传感器和投影系统显然必须面向世界,但会有一个外部电池隐藏在你的衣服下面,例如夹克。该包和前部通过磁铁连接 – 将设备固定在你的衣服上 – 这个外部包为内部电池无线充电。这种设计也获得了专利。
用户通过将便携式电池组放在他们的衣服下面并将可穿戴多媒体设备放在他们衣服外面的便携式电池组的顶部,从而将可穿戴多媒体设备磁性地固定在他们的衣服上,使得永磁体通过衣服相互吸引
同时,专利申请中有一张图表,表明 Humane 设备将由“Qualcomm Snapdragon 8xx”芯片供电。需要注意的是,这个应用程序现在已经有几年的历史了,但是使用旗舰智能手机芯片而不是更专用的XR1 / XR2芯片来实现 AR/VR 是很有趣的。这可能只是开发平台,而 Qualcomm Ventures LLC 去年确实参与了 Humane 的1 亿美元 B 轮融资。
同时,“X55(4/5G 调制解调器)”意味着该设备将真正独立,不需要智能手机。还有一个用于语音命令的麦克风(可能带有数字助理),而 GPS 和惯性传感器(如加速度计或陀螺仪)有助于确定“捕获上下文数据时佩戴设备的用户的位置和方向”。
该专利广泛提到可能具有心率传感器或指纹监测器,而该设备将能够连接到耳机。


2021 年 9 月的资金旨在“使 Humane 能够扩大其运营规模”。没有持久显示当然是新颖而聪明的,因为 AR 屏幕技术是智能眼镜上市的最大技术障碍之一(具有功率和热量限制)。
然而,Humane 依赖于一种同样未经证实的交互方法,人们将广泛陌生——假设投影技术清晰且工作完美。如果随身设备提供的效用不超过让相机不断对准世界的社会耻辱,那么它也可能成为采用的障碍。
目前尚不清楚 Humane 计划何时公布最终细节,这可能与上述文件有所不同。专利总是广泛的,并不代表最终产品,但营销和招聘部分开始排列。在一份声明中,公司发言人有以下话说:
“我们有很多想法,我们将始终保护我们的知识产权。其中一些想法可能会成为产品,而另一些则可能不会。期待在未来看到我们更多的专利申请。”
也就是说,缺少永久性显示器似乎是 Humane 一直在宣传创造不那么分散注意力的技术的基石,而且这种情况不太可能改变。