Apple 继续研究铰链技术,计划为从折叠式 iPhone 到MacBook Pro和其他可穿戴设备的所有产品设计由复合材料制成的纤薄但坚固的铰链技术。
就 Apple 而言,铰链并不是任何人最关心的技术革命,但也许它们应该是——而且看起来我们会得到更多。

Apple 以 PowerBook 和 MacBook Pro 铰链而著称,其中打开的显示屏可旋转回到设备底座的后面。它也更最近有魔术键盘的iPad上,它有铰链,允许它要坚强,但灵活一点。
Apple 已获得铰链技术专利,该公司似乎希望在任何地方使用该专利。一项专利申请于2021 年 1 月公布,但现在“具有纤维复合摩擦铰链的电子设备” 已被授予。
“电子设备可能有一些与铰链相连的部分,”授予的专利说。“[然而,如果] 不小心,铰链结构可能笨重、脆弱且容易滑动。”
Apple 的想法是通过“使用纤维复合结构”来“减少铰链体积,同时提高铰链性能”。
该专利主要参考智能戒指来描述这种复合结构,但也提到了“手机、平板电脑、笔记本电脑、台式电脑、头戴式设备、手持控制器、手指设备、手表设备、其他可穿戴设备、键盘、计算机鼠标、遥控器、扬声器、附属显示器、附属相机和/或其他电子设备。”
当其他公司尝试类似的事情时,这是武装未来律师的专利。但它也说明了一个想法如何有这么多可能的应用。
该专利详细介绍了铰链两侧可能是什么。因此,例如,在一侧具有电路并在另一侧控制显示器。
同样,关于材料和“透明房屋结构”的细节也很多。
但该提案的核心是铰链可以由很多重叠的“手指”制成。
“纤维复合铰链可能具有第一组和第二组相互交叉的细长指状物,”Apple 说。“细长指状物中的孔可以容纳紧固件的轴。”
“[然后]紧固件可能会被拧紧,以沿着铰链轴将细长的手指挤压在一起,”它继续说道。“纤维复合铰链可由纤维复合材料制成,例如碳纤维复合材料。”

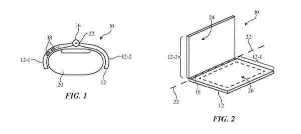
![]()
左:智能戒指。右图:MacBook Pro。可能不成比例
无论手指是由什么制成的,它们“都可以嵌入粘合剂中,例如聚合物粘合剂”。然后“可以提供致动器来调整铰链构件的部分的位置”。
因此,除了灵活之外,该提议还针对可以根据用户需要定位的铰链。这包括在智能戒指中使用时。
“当设备安装在用户的手指上时,[the] 铰链的部分可能有助于抓住用户手指的两侧,”Apple 继续说道。“[铰链] 可以允许部分围绕铰链轴朝向或远离彼此旋转。
该专利申请归功于三位发明人,包括多产的 Paul X. Wang。他之前的许多专利和应用包括有关可扩展智能环和Apple AR指尖工具的专利和应用。